+7 (912)-751-33-24Заказать звонок
Заказать звонок

Оставьте Ваше сообщение и контактные данные и наши специалисты свяжутся с Вами в ближайшее рабочее время для решения Вашего вопроса.

Ваш телефон
Ваш телефон*
Ваше имя
Ваше имя

* - Поля, обязательные для заполнения

Сообщение отправлено
Ваше сообщение успешно отправлено. В ближайшее время с Вами свяжется наш специалист
Закрыть окно
arbatex@list.ru
Каталог товаров
Подписка на новости магазина

Подпишитесь на рассылку и получайте свежие новости и акции нашего магазина.

Описание товара:

Диод 2Д504А - элемент, преобразующий ток, проходящий через него в однонаправленный.

Диод 2Д504А применяется в различных областях приборостроения, радиоэлектронной промышленности, cлужит для коммутации высокочастотных сигналов.
10 руб. / шт Цена не является конечной и требует уточнения у менеджера.
Загрузка
Рассчитываем стоимость доставки
Пожалуйста подождите, рассчет займет немного времени

Описание товара

Описание диода 2Д504А


Диод 2Д504А применяется в различных областях приборостроения, радиоэлектронной промышленности, cлужит для коммутации высокочастотных сигналов.

Характеристики диода 2Д504А


Диоды 2Д504А кремниевые, эпитаксиальные, импульсные.
Предназначены для ограничения и модуляции импульсных сигналов.
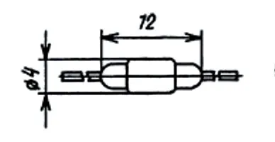
Выпускаются в стеклянном корпусе с гибкими выводами.
Тип диода и схема соединения электродов с выводами приводятся на корпусе.
Масса диода не более 0,7 г.

Основные технические характеристики диода 2Д504А:
• uoбp max - Максимальное постоянное обратное напряжение: 40 В;
• inp max - Максимальный прямой ток: 240 мА;
• unp - Постоянное прямое напряжение: не более 1,2 В при inp 100 мА;
• Сд - Общая емкость: 20 пФ

Условное обозначение диодов:


Обозначения состоят из четырех элементов:
Первый элемент- буква или цифра - обозначает материал:
1 или Г - германий или его соединения,
2 или К - кремний или его соединения,
3 или А - арсенид галлия или другие соединения галлия.
Второй элемент - буква - указывающая подкласс прибора:
Д - диоды, Ц - выпрямительные столбы и блоки,
А - сверхвысокочастотные диоды,
В - варикапы,
И - диоды туннельные и обращенные,
С - стабилитроны и стабисторы,
Л - излучатели.
Третий элемент - число - указывающее назначение и качественные свойства прибора, а также порядковый номер разработки.


Варианты поиска:
2Д504А диод, диод 2Д504А, купить диод 2Д504А по низкой цене, 2Д504А
Добавить отзыв
Ваша оценка:
Отправить отзыв

Похожие товары (8)

10 руб. / шт Цена не является конечной и требует уточнения у менеджера.
2Д504А диод
Задать вопрос

Ваше имя*
Контактный телефон*
E-mail
Вопрос*

* - Поля, обязательные для заполнения

Сообщение отправлено
Ваше сообщение успешно отправлено. В ближайшее время с Вами свяжется наш специалист
Закрыть окно
Купить в один клик
Заполните данные для заказа
Запросить стоимость товара
Заполните данные для запроса цены
Запросить цену Запросить цену